Facebook Pixel

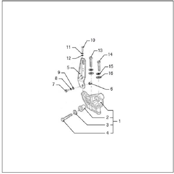
Intercooler,support for VF4.140 & VF4.170

Gruppiert Produkte - Artikel
No. Item No. Produktname
Keine Optionen stehen für diesen Artikel zur Verfügung.
Mehr Informationen
Engine model F-Line
Group exploded view 3: Cooling system
Engine Type exploded view VF4
  • Close
    Wir können keine Produkte entsprechend dieser Auswahl finden